三菱R16柴油發動機進排氣系統的拆卸、檢測........................ 11-3
1.1 空氣管的拆卸,檢修............ 11-3
1.2 隔熱罩的拆卸,檢修............ 11-7
1.3 排氣管的拆卸、檢測............ 11-9
1.4 排氣歧管的拆卸、檢測......... 11-11
2. 三菱R16柴油發動機進排氣系統的解體、檢修、組裝.................11-13
2.1 三菱S16柴油機空氣冷卻器的解體、檢修、組裝. 11-13
2.2 清洗空氣濾網................. 11-15
3. 三菱R16柴油發動機進排氣系統的安裝....11-16
3.1 排氣管的安裝................. 11-16
3.2 三菱S16柴油機空氣冷卻器的安裝............. 11-17
1. 三菱R16柴油發動機進排氣系統的拆卸、檢測
1.1 空氣管的拆卸,檢修

空氣管的拆卸,檢修
拆卸順序
1 空氣管
2 管接頭
3 空氣管
4 空氣管
5 空氣管支架

海水三菱S16柴油機空氣冷卻器規格
空氣管的拆卸,檢修
拆卸順序
1 空氣管
2 管接頭
3 空氣管

空氣管的拆卸,檢修
拆卸順序
1 空氣管
2 空氣管
3 管接頭
4 橡膠軟管
5 空氣管( 約19 kg)
6 管夾
7 空氣管
8 饒性管
9 管夾
10 空氣管
11 空氣管
12 空氣管支架
13 空氣管支架
14 空氣管支架

TAA規格(三菱S16柴油機空氣冷卻器、三菱R16柴油發動機三菱R16柴油發動機缸體之間) 空氣管的拆卸,檢修
拆卸順序
1 空氣管
2 橡膠軟管
3 空氣管
4 橡膠軟管
5 空氣管
6 橡膠軟管
7 空氣管
8 橡膠軟管
9 橡膠軟管
10 空氣箱
11 空氣箱
12 空氣管支架
13 空氣管支架
14 空氣管支架
15 空氣管支架
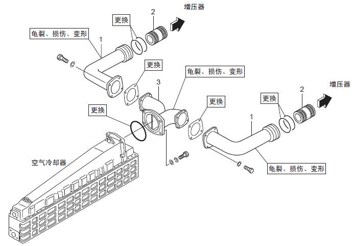
1.3 排氣管的拆卸、檢測

排氣管的拆卸、檢測 TD15,TF15
拆卸順序
拆卸順序
1 消音器總成
2 消音器蓋
3 V形夾具
4 三菱S16柴油機增壓器
5 排氣管接頭
6 排氣管 ( 約50 kg)
7 座
TD13規格 排氣管的拆卸、檢測
拆卸順序
1 消音器總成
2 消音器蓋
3 V形夾具
4 三菱S16柴油機增壓器
5 排氣管接頭
6 密封環
7 排氣管 ( 約29 kg)
8 座

排氣管的拆卸、檢測
拆卸順序
1 消音器總成
2 消音器蓋
3 V形夾具
4 三菱S16柴油機增壓器
5 聯軸器
6 聯軸器
7 排氣管 ( 約50 kg)
8 排氣管座
三菱R16柴油發動機排氣歧管的拆卸、檢測

三菱R16柴油發動機排氣歧管的拆卸、檢測 動壓排氣管規格
拆卸順序
1 聯軸器
2 饒性管
3 排氣歧管
三菱R16柴油發動機靜壓排氣管規格 排氣歧管的拆卸、檢測
拆卸順序
1 連接件2 饒性管3 排氣歧管

三菱R16柴油發動機排氣歧管的拆卸、檢測
拆卸順序
1 聯軸器2 饒性管 3 排氣歧管

三菱R16柴油發動機排氣歧管的拆卸、檢測
拆卸順序
1 V形夾具2 饒性管 3 排氣歧管

三菱R16柴油發動機排氣歧管的拆卸、檢測
拆卸順序
1 V形夾具2 饒性管 3 排氣歧管
三菱R16柴油發動機進排氣系統的解體、檢修、組裝
2.1 三菱S16柴油機空氣冷卻器的解體、檢修、組裝

三菱S16柴油機空氣冷卻器的解體、檢修、組裝
解體順序
1 管接頭
2 三菱S16柴油機空氣冷卻器管
3 管接頭
4 管
5 三菱S16柴油機空氣冷卻器蓋
6 三菱S16柴油機空氣冷卻器芯( 質量:45 kg)( 大型三菱S16柴油機空氣冷卻器規格約53 kg)
7 座圈

三菱S16柴油機空氣冷卻器的解體、檢修、組裝
解體順序
解體順序
1 三菱S16柴油機空氣冷卻器蓋( 約28 kg)
2 三菱S16柴油機空氣冷卻器芯( 海水三菱S16柴油機空氣冷卻器規格約60 kg)( 清水2 段三菱S16柴油機空氣冷卻器規格約51 kg)
3 板
4 三菱S16柴油機空氣冷卻器殼體( 約23 kg)
5 三菱S16柴油機空氣冷卻器芯( 海水三菱S16柴油機空氣冷卻器規格約60 kg)( 清水2 段三菱S16柴油機空氣冷卻器規格約51 kg)
6 板
7 座圈 ( 約40 kg)
三菱S16柴油機空氣冷卻器的檢查
2.1.2 三菱S16柴油機空氣冷卻器的清掃方法
用壓縮空氣(0.29 ~ 0.49MPa{3 ~ 5 kgf/cm2} 以下) 沿通常的空氣流向的相反方向吹入,吹除粘著物同時檢查有無腐蝕或龜裂。

2.1.3 三菱S16柴油機空氣冷卻器的漏泄檢測
將三菱S16柴油機空氣冷卻器浸入水槽內,從冷卻水側送入壓縮空氣(0.39MPa {4 kgf/cm2}) 檢查有無空氣漏泄。

2.1.4 三菱S16柴油機空氣冷卻器的組裝
組裝時的順序和解體時相反。
冷卻器芯和板之間的間隙,用信越化學工業株式會社生產的KE45-W 或相當的硅系密封膠密封。
2.2 清洗空氣濾網
(1) 從消音器上拆卸空氣濾網,用中性洗滌劑清洗。
(2) 在清水中漂洗。
(3) 充分干燥以后安裝在消音器上。
注: 空氣濾網有破損等缺陷時,更換新品。

3. 三菱R16柴油發動機進排氣系統的安裝
組裝時的順序和解體時相反。( 參照解體圖)
充分清洗、干燥進排氣管路。
3.1 排氣管的安裝
3.1.1 排氣歧管連接器的緊固要領
(1) 螺栓上涂抹二硫化鉬或相當的潤滑劑。
(2) 按照規定的扭矩緊固螺帽。
(3) 在整個的排氣歧管連接器的外側,施以不致變形的輕度振動,使排氣歧管的接合面和排氣歧管連接器的錐面均等地密合接觸。
(4) 按照規定的扭矩緊固螺帽。
(5) 再次施以輕度振動確認緊固扭矩。

(1) 螺栓上涂抹二硫化鉬或相當的潤滑劑。
(2) 按照規定的扭矩緊固螺帽。
(3) 在V形管夾的外側,施以不致變形的輕度振動,使排氣歧管的配合面和V形管夾的錐面均等地密合接觸。
(4) 按照規定的扭矩緊固螺帽。
(5) 再次施以輕度振動確認沒有松動。

3.2 三菱S16柴油機空氣冷卻器的安裝
(1) 以下顯示在空氣進口側冷卻器芯部位涂抹硅密封劑。
板和芯的間隙之間(灰色部分)
板和芯的接合部分的間隙之間(4處)
(2) 按照規定的扭矩緊固安裝螺栓。

三菱R16柴油發動機空氣起動系統
1. 拆卸三菱R16柴油發動機空氣起動系統.....12-3
1.1 拆卸電磁閥....................12-3
1.2 空氣管、起動閥、分配閥的拆卸..12-4
1.3 拆卸三菱R16柴油發動機空氣起動馬達. .............12-5
2. 三菱R16柴油發動機空氣起動器系統的解體、檢修、組裝 ..............12-6
2.1 電磁閥的解體、檢修............12-6
2.2 安裝電磁閥....................12-7
2.3 起動馬達 的解體,檢測..........12-8
2.4 檢測起動閥....................12-9
2.5 起動閥的組裝.................12-10
2.6 分配閥的解體,檢測...........12-11
2.7 分配閥的檢測.................12-12
2.8 起動閥的組裝.................12-13
3. 安裝三菱R16柴油發動機空氣起動系統....12-13
1. 拆卸三菱R16柴油發動機空氣起動系統
1.1 拆卸電磁閥

拆卸電磁閥
拆卸順序
1 空氣管
2 空氣管
3 止回閥
4 管接頭
5 空氣管
6 饒性管
7 彎頭
8 起動空氣濾器
9 空氣管
10 電磁閥
1.2 空氣管、起動閥、分配閥的拆卸

空氣管、起動閥、分配閥的拆卸
拆卸順序
1 No.1 ~ 6 控制空氣管
2 主空氣管
3 分配閥
4 起動閥
1.3 拆卸三菱R16柴油發動機空氣起動馬達

拆卸三菱R16柴油發動機空氣起動馬達
拆卸順序
1 管夾
2 自動消音器
3 彎頭
4 管夾
5 三菱R16柴油發動機空氣起動馬達 ( 約60 kg)
2. 三菱R16柴油發動機空氣起動器系統的解體、檢修、組裝
2.1 電磁閥的解體、檢修
空氣直接起動、三菱R16柴油發動機空氣起動器規格

電磁閥的解體、檢修
拆卸順序
1 電磁閥
2 繞組
3 柱塞彈簧
4 三菱R16柴油發動機活塞彈簧
5 三菱R16柴油發動機活塞總成
6 閥
7 回程彈簧
8 閥彈簧
2.2 安裝電磁閥
空氣直接起動、三菱R16柴油發動機空氣起動器規格

安裝電磁閥
三菱R16柴油發動機調整和運轉
1. 三菱R16柴油發動機的調整.........13-3
1.1 盤車齒輪的使用方法............13-3
1.2 橋、調節螺釘的確認............13-4
1.3 確認氣閥間隙..................13-4
1.4 三菱R16柴油發動機噴油正時的確認................13-4
1.5 排除三菱R16柴油發動機燃油系統的空氣............13-4
1.6 皮帶的檢測和張緊力調整........13-6
2. 磨合運轉.............13-8
2.1 起動前準備....................13-8
2.2 起動三菱R16柴油發動機....................13-8
2.3 磨合運轉......................13-8
3. 三菱R16柴油發動機的試驗和調整..13-10
3.1 三菱R16柴油發動機的一般性能試驗.........13-10
3.2 排氣性能試驗.................13-10
3.3 調速器性能試驗...............13-10
3.4 報警動作、緊急停止試驗.......13-10
3.5 燃油最大噴油量的設定.........13-10
3.6 封印13-10
1. 三菱R16柴油發動機的調整
1.2 橋、調節螺釘的確認
確認橋、調節螺釘的調整。沒有進行調整時,調整至標準值范圍內。調整要領參考「三菱R16柴油發動機本體的組裝」的「橋、調節螺釘的調整」項。
1.3 確認氣閥間隙
確認氣閥的間隙。
沒有進行調整時,調整至標準值范圍內。調整要領參考「三菱R16柴油發動機本體的組裝」的「三菱R16柴油發動機進排氣閥門間隙的檢測、調整」項。
1.4 三菱R16柴油發動機噴油正時的確認
確認三菱R16柴油發動機噴油正時。
沒有進行調整時,調整至規定的正時。調整要領參考「三菱R16柴油發動機本體的組裝」的「三菱R16柴油發動機噴油正時的確認和調整」項。
1.5 排除三菱R16柴油發動機燃油系統的空氣
(a) 從排氣塞頭中溢出的燃油要用擦布揩拭干凈。
(b) 空氣排除后,要確實地將預供油泵的端蓋鎖緊。端蓋松動會引起預供油泵損壞,或因燃油漏泄導致火災發生。
三菱R16柴油發動機燃油系統的空氣排除,要在用預供油泵壓送燃油的同時,按照燃油濾清器、三菱R16柴油發動機燃油噴油泵的順序,從距離燃油箱較近的位置處開始。

1.5.1 燃油濾清器( 紙質濾芯) 的空氣排除
(1) 旋松燃油濾清器的放氣塞約1.5 周。
(2) 上下撳動預供油泵壓送燃油。
(3) 從放氣塞處排出的燃油不含有氣泡時,按照規定扭矩旋緊放氣塞。

1.5.2 排除三菱R16柴油發動機燃油噴油泵的空氣
(1) 旋松三菱R16柴油發動機燃油噴油泵的放氣塞約1.5 周。
(2) 上下撳動預供油泵壓送燃油。
(3) 從放氣塞內排出的燃油不含有氣泡時旋緊塞頭,但在旋緊最后的1個放氣塞前,先將預供油油泵的端蓋壓下向右旋回至原狀鎖定。
注:(a) 確認止回閥的動作時,在所有的放氣塞旋緊后將預供油油泵鎖緊。在輸油泵的壓力作用下預供油操作時感覺重,通過止回閥的開閥壓力得到穩定,由此也可確認止回閥的的動作狀況。(b) 從放氣塞中溢出的燃油要揩拭干凈。

1.5.3 預供油泵端蓋的鎖緊方法
預供油泵的端蓋不夠旋緊的話,內部的螺紋會受三菱R16柴油發動機的振動而磨損,引起預供油泵的端蓋飛出或燃油的外溢。相反,如果預供油泵的端蓋擰得過緊會引起預供油泵的頭部破損。因此,必須按照適當的角度旋緊。
確認預供油泵頭部的墊圈沒有變形或損傷。有變形或損傷時,更換預供油泵。

(1) 用手旋緊預供油泵,在此位置處作上記號。
(2) 用扳手等從記號位置處再旋緊90 ± 10°。
(3) 確認頭部墊圈的安裝狀態,如有變形或損傷時,更換預供油泵。

1.6 皮帶的檢測和張緊力調整
在檢測時,發現皮帶的一部分有剝離或破損現象時,要更換新的皮帶。
皮帶上不能沾附油類。皮帶打滑會降低使用壽命。
皮帶的張緊力過大的話,會影響三菱S16柴油機充電機的軸承或皮帶的使用壽命,要按照以下的方法適當調整。
1.6.1 皮帶的檢測
(1) 檢查皮帶的外觀有無剝離或破損。發現異常時,更換新的齒輪。
(2) 檢測皮帶的張緊力( 下陷量)。
V 型皮帶
當用力( 約98 ~ 147 N {10 ~ 15 kgf}) 按壓皮帶的中央部分時,下陷量10 ~ 15 mm 為正常。皮帶的下陷量超出標準值范圍時,要進行調整。
多楔式皮帶
參考下表,按壓三菱S16柴油機皮帶輪的中間使下陷量達到15mm,用測力器測出的壓力不滿足標準值時進行調整。
1.6.2 皮帶的張緊力調整( 三菱S16柴油機充電機)
(1) 拆卸皮帶的保護罩殼。
(2) 旋松所有的三菱S16柴油機充電機的固定螺栓。
(3) 旋轉調節桿調整皮帶的張緊力。
(4) 旋緊三菱S16柴油機充電機的固定螺栓。
(5) 安裝皮帶罩殼。

多楔式皮帶張緊力表


2. 磨合運轉
2.1 起動前準備
檢查燃油、三菱R16柴油發動機潤滑油、冷卻水的容量,排除燃油和三菱R16柴油發動機冷卻系統的空氣。
檢查調速器輸出柄至三菱R16柴油發動機燃油噴油泵齒條的連接。確認在停止狀態時控制齒條處于不噴油位置,操作停止柄確認控制齒條回到"0" 位。
檢查三菱R16柴油發動機電氣系統( 傳感器、儀表報警盤、起動電機、三菱S16柴油機充電機、三菱S16柴油機停機電磁鐵、蓄電池) 的接線,在控制器主開關ON 時確認系統無異常。
將調速器的速度柄位置設定在起動后進行怠速運轉。
使三菱S16柴油機停機電磁鐵動作,確認三菱R16柴油發動機燃油噴油泵齒條處于設定的不噴油位置。
根據必要安裝壓力表、溫度表或流量計。
2.2 起動三菱R16柴油發動機
(1) 將停止柄扳至不噴油位置,用起動電機盤轉三菱R16柴油發動機曲軸2 ~ 3 次(1 次10 秒內,中間停止1 分鐘以上),使三菱R16柴油發動機的各部分得到潤滑油循環。同時,確認無異音、轉速變動等異?,F象。
(2) 按正常的起動操作起動三菱R16柴油發動機。確認起動后能夠進行怠速運轉。
(3) 確認油壓立即上升,冷卻水循環。
(4) 確認無漏油、漏水、漏燃油和漏氣,無異音、異常振動等。
(5) 確認能夠順利進行怠速運轉后,將鑰匙開關轉至OFF,確認三菱R16柴油發動機能正常停機。
2.3 磨合運轉
2.3.1 磨合運轉的負載和時間
磨合運轉要按下記規定分段增加負載。另外,所表示的時間為能確認穩定運轉的最少時間。

2.3.2 三菱R16柴油發動機運轉中的檢測
在磨合運轉時要注意以下事項,確認無異常現象。
油圧、油溫
冷卻水溫、水容量
漏油、漏水、漏燃油、漏氣( 空氣)
音、振動
進氣壓力、進氣溫度
排氣顏色、臭味
排氣溫度
左右氣缸不一致
油霧氣體( 量、色)
轉速變動
回轉部分的端面跳動、徑向跳動
儀表、報警的顯示和動作
2.3.3 磨合運轉后的檢測,調整
氣閥間隙
燃油三菱R16柴油發動機噴油正時
緊固外周的螺栓、螺帽
皮帶的張緊力
漏油等異常的調查和修理
3. 三菱R16柴油發動機的試驗和調整
(a) 三菱R16柴油發動機的試驗、調整和封印,僅允許在我公司指定的維修工廠內實施。
在我公司指定的維修工廠以外實施封印時,應向我公司指定的維修工廠提出試驗、調整和封印作業的合同檢驗的委托申請。
(b) 三菱R16柴油發動機的性能檢測和調整,應在三菱R16柴油發動機進行充分暖機運轉,在水溫和油溫穩定后實施。
在磨合運轉結束,可進行正常運轉以后,實施三菱R16柴油發動機的性能、機能的檢測和調整。
務必記錄試驗結果,和本機器的出廠時的數據相比較。
3.1 三菱R16柴油發動機的一般性能試驗
燃油消耗率、各部分溫度、各部分壓力、排氣濃度
3.2 排氣性能試驗
排氣分析
3.3 調速器性能試驗
無負載最低轉速( 低空轉) 的設定
無負載最高轉速( 高空轉) 的設負載投入、斷油停機試驗調速器變動率、顫振、轉速變動的確認其他,調速器控制器設定條件的確認
3.4 報警動作、緊急停止試驗
油壓降低、水溫上升、過速度
3.5 燃油最大噴油量的設定
(1) 三菱R16柴油發動機燃油噴油泵齒條前端(前側)的齒條設定端帽拆卸的狀態,施加額定(最大)負載。
(2) 在齒條前端的雙螺帽和彈簧罩殼的端面相接觸的位置處旋緊螺帽。

三菱R16柴油發動機檢測記錄表 (SR系列)
No.1 檢測氣三菱R16柴油發動機缸套內徑
No.2 檢測氣三菱R16柴油發動機缸套凸肩的突出量
No.3 檢測氣閥導管的內徑及閥桿的外徑
No.4 檢測三菱R16柴油發動機氣缸頭的氣閥下沉量、閥座寬以及氣閥加工余量
No.5 檢測三菱R16柴油發動機氣缸頭下表面的變形量
No.6 檢測三菱R16柴油發動機連桿襯套內徑和三菱R16柴油發動機連桿大端軸承孔的內徑
No.7 檢測三菱R16柴油發動機搖臂軸襯的內徑和三菱R16柴油發動機搖臂軸外徑
No.8 檢測三菱R16柴油發動機活塞銷孔的內徑和三菱R16柴油發動機活塞銷的外徑
No.9 檢測氣閥的間隙
No.10 檢測燃油三菱R16柴油發動機噴油器的噴油壓力
No.11 檢測三菱R16柴油發動機凸輪軸的軸襯內徑和三菱R16柴油發動機凸輪軸的軸頸外徑(右側)
No.12 檢測三菱R16柴油發動機凸輪軸的軸襯內徑和三菱R16柴油發動機凸輪軸的軸頸外徑(左側)
No.13 檢測三菱R16柴油發動機曲軸的軸向間隙